St. Petersburg Alpine Championship 2012

Report
on the ascent to the summit of Erydag via the 3rd "well" of the 3rd wall and along the SW ridge, rocky 2696 m (A. Dubovikov's route, 1981) 5A cat. difficulty of the alpclub "Bars" team (St. Petersburg) July 13, 2012
- Leader: Vorobyev K.P.
- Participant: Khudyakov A.
- Team Coach: Semiletkin S.A.
St. Petersburg 2010
Ascent Passport
- Region 2.10, Caucasus, Dagestan Mountains, Chekhychay River valley
- Erydag 3925 m, route: via the 3rd "well" of the 3rd wall and along the SW ridge (Dubovikov's route, 1981), 5A cat. difficulty
- Route type: rocky
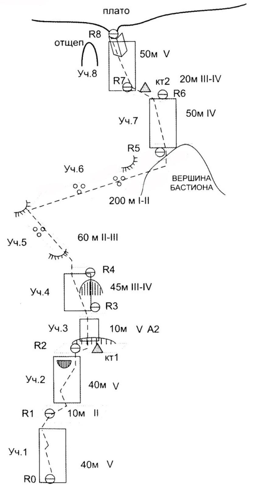
- Route height difference: 430 m Route length: 540 m Length of sections: 1 cat. difficulty 200 m 2 cat. difficulty 60 m 3 cat. difficulty 30 m 4 cat. difficulty 110 m 5 cat. difficulty 140 m 6 cat. difficulty 10 m Average steepness: main part of the route — 80°, entire route — 70°
- Pitons and placements used on the route: total — 40, including pitons (previously driven) — 3, bolts (previously installed) — 4.
- Team's travel hours: 7.5 hours
- Descent from the summit: via the summit plateau and along the stream to the right of v. Sel'dy.
- Leader: Vorobyev Konstantin Pavlovich, 1st sports category Participants: Khudyakov Alexander, 2nd sports category Coach: Semiletkin Sergey Alekseyevich, Master of Sports, instructor III category.
- Route start: at 06:00, July 10, 2012 Summit attainment: at 13:30, July 11, 2012 Return to Base Camp: at 16:00, July 11, 2012
- Organization: St. Petersburg, FASL, "Bars" alpclub of St. Petersburg State University
- Responsible for the report — Vorobyev Konstantin Pavlovich (konstantin.vorobyev@gmail.com)

Fig. 1. The line of the route taken by the team is shown in red. Nekrasov's route (5A) is highlighted in yellow, and Nezametdinov's route (4B) is highlighted in green.

Fig. 2. Map of the area.

Fig. 3. UIAA scheme.
Photos from the route

Fig. 4. Start of the route.

Fig. 6. Key section 3.

Fig. 5. Vorobyev on section 1.

Fig. 7. Khudyakov on section 7.
Route passage
In fact, the route processing was forced, as our rope team was stopped by a team from Krasnodar, competing as part of the Erydag-2012 extreme sports festival for Dagestan, Makhachkala, who descended from their route (Nekrasov's route, 5A). The Krasnodar team, having spent the night in the middle of Polyakov's route, ignored radio calls and, without warning anyone, traversed above us along the scree shelves towards Nezametdinov's route (4B). At the moment when participant Vorobyev was preparing to climb section R2-R3 through a cornice, they were above us and, over the course of 20 minutes, triggered rockfall towards us, as a result of which it was decided to descend. The ropes were left fixed as belays to continue the ascent the next day.
Thin anchors were used for the first section. The starting point is exposed to rockfall from the scree shelves in the middle of the route. Sections 4-6 were traversed simultaneously. Sections 1 and 3 were traversed using artificial aids. The key section 3 involves exiting a cave through a cornice with interesting power climbing:
- One should exit the cornice directly through its center via a tooth;
- Then 3 m up and to the right towards a channel hook;
- Further, vertically upwards until exiting onto a large shelf.
To the right of the cave on the wall, there is a bolt, but this path is incorrect.
Section 5 represents a wide crevice (in some places it's possible to fit entirely within it). For belaying, mainly very large eccentric placements or camalots are necessary, which the rope team did not have; however, climbing in the crevice is quite comfortable.







