Ascent Record
- Region — Karakoram, Trango group.
- Peak — Great Trango (SW), 6237 m via the bastion of the northwestern wall.
- Proposed — 6B cat. dif. (ED VI+, 7a, A3), first ascent.
- Route characteristic — combined.
5. Route Description
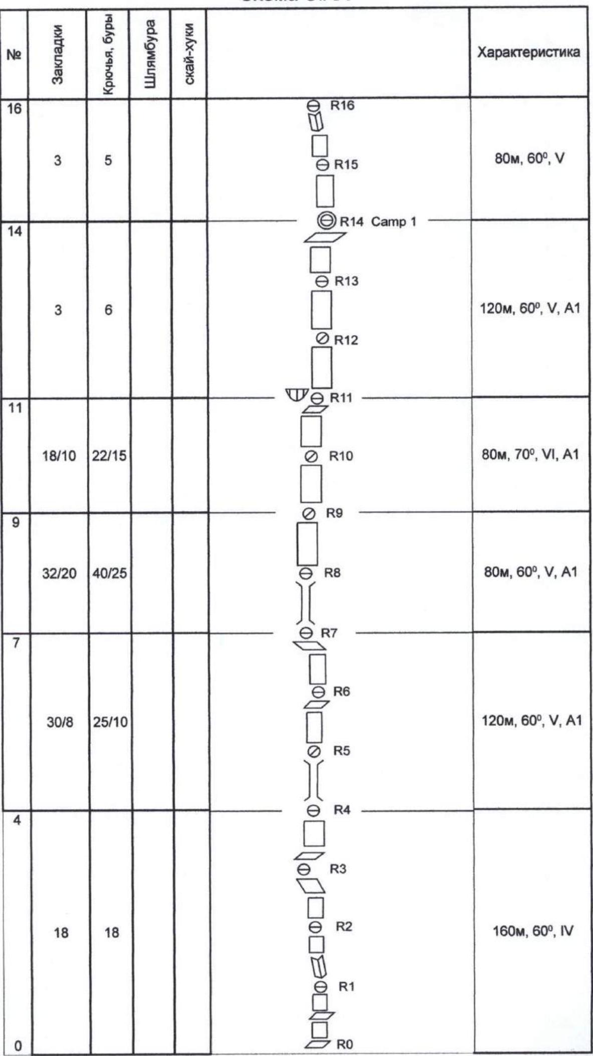
wall section height difference — 1830 m, route length — 2100 m, sections of 6B cat. dif. — 1050 m, 5 cat. dif. — 530 m, average steepness of the wall section — 69°.
- Left on the route: pitons — 18, including bolted — 12; "chocks" — 1.
Pitons used on the route: stationary bolted — 12, including for platform installation — 7; total ITC used — 500.
- Number of climbing hours — 113, days — 13 (including processing).
- Team leader — Oleg V. Khvostenko, Master of Sports
Team members:
- Sergei V. Cherezov, Master of Sports of International Class
- Vladimir A. Arkhipov, Master of Sports
- Yuri E. Glazyrin, Master of Sports
- Andrey D. Litvinov, Master of Sports
- Alexander A. Yanushevich, Candidate for Master of Sports
- Team coaches: Nikolai N. Zakharov, Master of Sports of International Class, Honored Coach
Valery V. Balezin, Master of Sports of International Class
10. Departure Date
for processing — July 4, 2007 at 8:00, on the route — July 6, 2007 at 8:00, on the summit — July 16, 2007 at 11:00, return — July 17, 2007 at 20:00.
- Organization: Agency for Physical Culture and Sports, Administration of Krasnoyarsk Krai
Great Trango SW 6237 m. Great Trango Tower SW
- O. Khvostenko 2007
- Germany 1999
- USA (A. Lowe) 1999
- A. Mikhalitsin 2007
- A. Odintsov 1999
- USA 2004
Photographed from Trango glacier, July 2007
Area Panorama
- Nameless Tower, 6239
- Trango Nameless Tower
- Great Trango Tower SW, 6237
Photographed from Trango glacier, July 2007

Route profile on the right

UIAA Scheme

| № | Chocks ![]() | Pitons, boulders ![]() | Bolts ![]() | Characteristic |
|---|---|---|---|---|
| 16 | 3 | 5 | 80 m, 60°, V | |
| 14 | 3 | 6 | 120 m, 60°, V, А1 | |
| 11 | 18/10 | 22/15 | 80 m, 70°, VI, А1 | |
| 9 | 32/20 | 40/25 | 80 m, 60°, V, А1 | |
| 7 | 30/8 | 25/10 | 120 m, 60°, V, А1 | |
| 4 | 18 | 18 | 160 m, 60°, IV | |
| 0 |
Scale 1:2500

| № | Chocks ![]() | Pitons, boulders ![]() | Bolts ![]() | Characteristic |
|---|---|---|---|---|
| 32 | 9 | 3 | 40 m, 75°, VI | |
| 31 | 8 | 7/6 | 30 m, 75°, VI, А1 | |
| 30 | 18/9 | 28/15 | 160 m, 80°, VI, А2 | |
| 26 | 10/2 | 12/8 | 2 | 45 m, 75°, VI, А1 |
| 25 | 13/9 | 6/5 | 40 m, 85°, VI, А2 | |
| 24 | 8/6 | 12/11 | 50 m, 75°, V, А1 | |
| 23 | 18/9 | 42/33 | 120 m, 80°, VI, А2 | |
| 20 | 10/8 | 18/14 | 45 m, 85, VI, А3 | |
| 19 | 2 | 3 | 2 | 40 m, 60°, IV |
| 18 | 4 | 8 | 80 m, 60°, V | |
| 16 |
Scale 1:2500

| № | Chocks | Pitons, boulders | Bolts | Sky-hooks | Characteristic |
|---|---|---|---|---|---|
| 51 | 30 m, III | ||||
| 50 | 12/9 | 25/16 | 2 | 80 m, 65°, VI, А1 | |
| 48 | 6 | 12/5 | 2 | 40 m, 70°, VI, А2 | |
| 47 | 32/24 | 40/28 | 160 m, 80°, VI, А2 | ||
| 43 | 9 | 2 | 150 m, 55°, IV | ||
| 40 | 14 | 12 | 150 m, 45°, IV | ||
| 37 | 12/8 | 22/15 | 1 | 80 m, 65°, VI, А2 | |
| 35 | 6 | 11/8 | 45 m, 70°, VI, А1 | ||
| 34 | 10/6 | 12/7 | 2 | 40 m, 80°, VI, А3 | |
| 33 | 8/4 | 11/7 | 40 m, 80°, VI, А3 | ||
| 32 |
Scale 1:2500
The first attempt to climb the route was made by a team from the Odessa Alpine Club, led by V. Mogyla in 2003. In 21 days, the Ukrainians climbed a significant part of the route. Reaching point R47, they were forced to retreat due to objective reasons. During the ascent, we used technical photos of the route taken by the Ukrainians. In fact, we only climbed three new sections, R47–R50 (about 150 meters). The weather was initially favorable. For the first seven days, there was one snowfall lasting half a day. On the eighth day, the weather deteriorated, and continuous snowfall began. We processed the route in bad weather on July 13 and 14. July 15 was a day of rest in the platforms. On July 16, we ascended to the summit using the processed fixed ropes. No notes were found on the summit.
The approach from the Trango base camp to the start of the route takes 1 hour. The route begins on a small buttress (spur) to the right of a large couloir leading towards the northern ridge of Trango. All overnight stays on the wall were organized on platforms. The descent was made via the ascent route. All stations on the descent were equipped with loops. It is possible to climb most of the route using free climbing, with an estimated difficulty level of F7a–7c, M7.
Route Description by Sections
Section R0–R4. A series of ledges, walls, and internal corners. The ascent follows a buttress for 160 m. Not very difficult climbing.
Section R4–R7. A vertical chimney, followed again by a system of walls and corners — 120 m. Unstable terrain, many loose blocks! Exit to a good ledge.
Section R7–R9. Along the ledge to the left around the corner, then up a chimney. After the chimney, exit onto monolithic slabs with cracks — 80 m.
Route Description by Sections (continued)
... (rest of the translation remains the same as the original)
Section R50–R51. Snowy ridge — 30 m to the summit.

R50–R48–R47



Section R10–R11. A. Litvinov is leading.

Section R16–R17. O. Khvostenko is leading. View of the main bastion, sections R20–R30.

View from R18 towards sections R18–R20. A. Litvinov and S. Cherezov are at the site of the future Camp 2, O. Khvostenko is approaching point R20.

Section R19–R20. O. Khvostenko approaching the overhang.

Section R22–R23. A. Litvinov is leading.

Section R20–R21. A. Litvinov is leading.

Section R23–R24. A. Litvinov is leading.

Section R24–R25. A. Litvinov is leading.

Sections R24–R26. Rappel descent (telephoto shot).

Camp 3 (telephoto shot).

Sections R26–R28. Detached "flakes" are visible.

Section R28–R29. O. Khvostenko is leading.

Section R29–R30. O. Khvostenko is leading.

Section R32–R33. A. Litvinov is leading.

Section R33–R34. A. Litvinov is leading.

Sections R34–R37. Team on descent (telephoto shot).

Section R44–R45. O. Khvostenko is leading (visible temperature erosion of granite).

Section R46–R47. O. Khvostenko is leading.

Section R49–R50. O. Khvostenko is leading.

Section R48–R49. O. Khvostenko is leading.
Footnotes
-
Technical photo of the middle section ↩






Comments
Sign in to leave a comment